background image

 

 

一、骨折

桡骨远端骨折,

解多少

概述

 

桡骨远端骨折是骨科最常见的骨折之一,占全身骨折的

10%-25%

,尤其高

发于骨质疏松的老年人(女性占比超

65%

)和运动量大的青少年。主要原因在

于其高发病率、严重并发症及对日常生活的毁灭性影响,因此在临床上被称为

“手腕杀手”

。其发生多与跌倒时手掌撑地相关,该部位是前臂与腕关节连接的

关键结构,解剖上分为松质骨丰富的干骺端和关节面,因其骨质较薄且承受力

学负荷大,成为骨折高发区域(如图

1

 

 

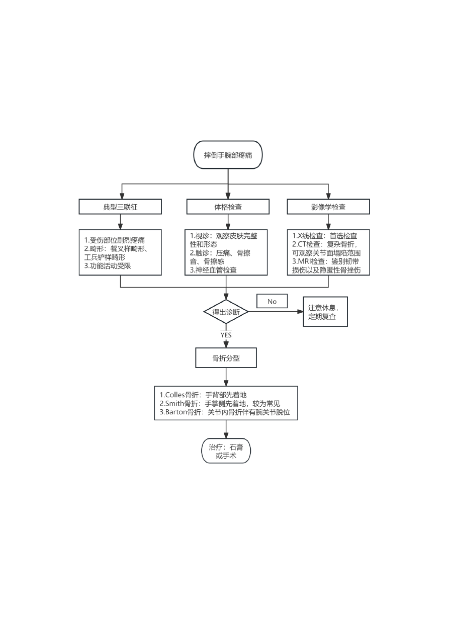
二、诊断篇:识别“骨折信号”

 

1.

典型症状表现为“三联征”(详见诊断流程图

2

 

 

剧烈疼痛:腕部活动时疼痛加剧,静息痛提示严重移位;

 

 

餐叉样畸形:远端骨折块向背侧移位形成的特征性外观(图

3

 

 

活动受限:握拳、旋转等动作明显受限;

 

2. 

体格检查

 

 

视诊:观察畸形方向及皮肤完整性(开放性骨折需紧急处理);

 

 

触诊:压痛:桡骨远端“鼻烟窝”区域明显压痛(特异性>

90%

);骨擦

感:轻柔触诊可感知骨摩擦音(提示骨折端不稳定)

 

 

神经血管评估:如有损伤急诊手术;

 

3.

影像学检查规范:

 

background image

 

X

线平片(首选):需包含正位、侧位及斜位(检出率提升至

95%

)图

3

 

 

CT

三维重建(复杂骨折)

:可清晰显示关节面塌陷程度(精度达

0.2mm

 

 

MRI

检查(疑似韧带损伤):

T2

加权像可识别

TFCC

(三角纤维软骨复合

体)损伤;

 

 

诊断流程图

2

 

 

 

 

background image

 

 

 
 
 
 
 
 
 
 
 
 
 
 

 

3

 

 

三、治疗篇:精准修复“生命铰链”预防需从多维度入手

 

1.

 

保守治疗适应症(对于骨折

AO

分型

A

型骨折):

 

 

手法复位标准:

Colles

骨折:牵引

+

掌屈

+

尺偏复位;

 

Smith

骨折:牵引

+

背伸

+

旋后复位;

 

 

石膏固定:高分子石膏固定,

3

周后更换功能位石膏;

 

 

每周复查

X

线:警惕复位丢失(发生率约

5%-10%

(详见图

4

);

 

4  

2.

 

手术治疗指征:

 

 

外固定支架:适用于严重粉碎性骨折、感染风险高;

 

 

掌侧锁定钢板(主流选择)

:允许术后早期活动,并发症率

<5%

(见图

5

 

 

关节镜辅助复位:用于

Barton

骨折,可同步修复

TFCC

损伤;

 

background image

 

四、

 

康复篇:重启“腕部引擎”

 

1.

早期阶段(

0

3

周):

 

 

手指操:每小时

10

次全范围屈伸(预防肌腱粘连);

 

 

肩肘运动:钟摆运动(每天

3

组,每组

20

次)防止关节僵硬;

 

2.

中期阶段(

4

6

周):

 

 

腕部主动活动:石膏拆除后立即进行“写字板训练”

(前臂旋前

/

旋后)

 

 

物理治疗:热疗局部理疗、超声波等促进水肿消退;

 

3.

后期阶段(

7

12

周)

 

 

力量训练:弹力带抗阻练习(阻力逐步增至

5kg

 

 

功能重塑:拧毛巾、抓握网球等日常生活模拟训练;

 

background image

五、

 

护理篇:打造“愈合微环境”

 

1.

肿胀管理:

 

 

冰敷方案:术后

72

小时内每

2

小时冰敷

15

分钟(预防间隔性皮肤冻伤);

 

 

抬高患肢:夜间用枕头垫高,高于心脏水平

10-15cm

(详见图

7

 

2.

疼痛控制:

 

 

阶梯用药:首选对乙酰氨基酚(每日不超过

4g

,重度疼痛联用弱阿片类药

物;

 

 

中医辅助:耳穴压豆(取神门、皮质下等穴位)可降低疼痛评分

2-3

分;

 

六、

 

预防篇:提升机体强度

 

1.

防跌倒措施:

 

 

居家环境:浴室安装防滑垫、床边设置扶手、保持地面干燥无杂物;

 

 

外出建议:雨雪天穿防滑鞋、使用登山杖辅助行走(见图

8

 

 

运动防护:滑板、轮滑等高风险运动佩戴专业护腕(缓冲压力达

30%

 

2.

骨骼健康管理:

 

 

50

岁以上人群建议每年检测骨密度;

 

 

每日补充钙

800

1200mg

(牛奶

300ml

300mg

钙)

+

维生素

D  800

1000IU

 

3.

抗阻训练:

 

 

哑铃弯举(每周

3

次,每次

15

分钟)可提升骨密度

3%-5%

 

4.

神经肌肉训练:

 

background image

 

单腿站立练习(每天

2

组,每组

30

秒)增强平衡能力;

 

 

太极拳云手动作可降低老年人跌倒风险

41%

JAMA

》研究证实);

 

单腿站立练习(每天

2

组,每组

30

秒)增强平衡能力

 

 

七、总结

 

 

桡骨远端骨折,

解多少

在我们日常生活中较为常见,治疗包括手法

复位石膏固定、手术内固定等,需根据骨折稳定性、移位程度及患者功能需求

制定个体化方案。及时规范治疗可有效避免腕关节僵硬、畸形愈合等并发症。